home page > Annunci immobiliari in Italia > Veneto > Treviso > Oderzo > Rustici in vendita > Scheda immobile

Rustici in vendita a Oderzo

COMPILA IL MODULO SOTTOSTANTE PER RICEVERE MAGGIORI INFORMAZIONI







Invia la richiesta ad altre agenzie
Accetto il trattamento dei miei dati



Asteaffari.com

Viale g. E l. Olivi 38
31100 Treviso

04221781118    Riferimenti: Stefano Dalto

Oderzo
Prezzo: € 40.000
2635
2
1



Descrizione:
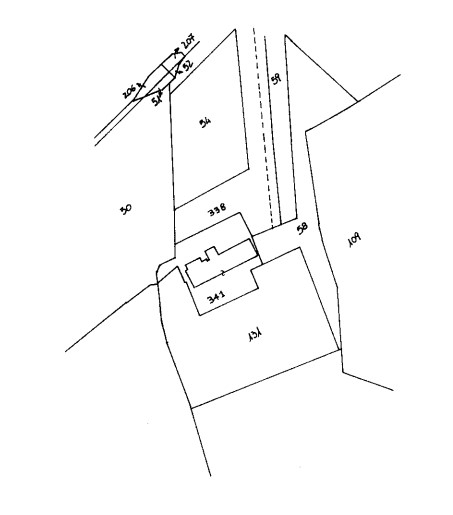
Rif. A.a. 467-20vendita all'asta - fabbricato rurale da ristrutturare descrizione: trattasi di un compendio immobiliare sito in comune di oderzo (tv), frazione faè, in via comunale postumia di faè n. 41, e precisamente: fabbricato rurale con annesso rustico, in parte crollato, disposto su 3 livelli; area scoperta di pertinenza di catastali mq. 1066: area scoperta di complessivi catastali mq. 1135, in gran parte destinata a strada di accesso, censita al catasto dei terreni. l'immobile viene venduto tramite asta giudiziaria, ed il prezzo indicato si riferisce al prezzo minimo accettato per la partecipazione all'astaaste-affari fornisce un servizio di assistenza e consulenza tecnica , legale, fiscale e finanziaria su acquisti all'asta e affari immobiliari , al fine di rendere più facile e sicuro l'acquisto di un immobile proveniente dal mercato giudiziario oppure da occasioni presenti sul mercato immobiliare . analisi di fattibilità , tecnica, burocratica, finanziaria , legale , esame problematiche e vincoli , conteggio costi accessori ed occulti, assistenza in tutte le fasi della procedura fino alla consegna delle chiavi dell'immobile .l'acquisto può essere finanziato tramite mutuo , e , ove possibile , anche in pre-asta tramite procedura di saldo-stralcio .soluzioni personalizzate per i debitori .prezzo minimo base asta : euro 40.000,00per info aggiuntive , prenotazione visione, consulenza ed assistenza studio di consulenza : 'aste-affari.com'info :




Caratteristiche immobile:
Codice inserzione: 1769763429
Rif. Annuncio: A.A. 467-20
Provincia: Treviso
Comune: Oderzo
Superficie (Mq) : 2635 Mq.
Tipo immobile: Rustici
Stato immobile: usato da riattare
Anno costruzione/ristrutturazione: 1950
Piano: 2
Posti auto scoperti: 1 posto auto

Costi:
Prezzo € 40.000


Efficienza energetica:
Classe energetica: Immobile non soggetto all'obbligo di certificazione